Тема 3.13: Нарізні з’єднання.
План
1. Загальні відомості, застосування. Конструктивні форми нарізних з’єднань.
2. Стандартні кріпильні деталі, їх матеріали. Способи стопоріння нарізних з’єднань.
3. Найпростіші випадки розрахунку на міцність.

1. Загальні відомості, застосування. Конструктивні форми нарізних з’єднань.
Нарізними називають такі з’єднання, які виконуються за допомогою деталей, що мають різьбу. В залежності від того, на якій поверхні виготовлена різьба, розрізняють різьби:
циліндричні

і конічні.

Різьба може бути нанесена на зовнішній або внутрішній циліндричній чи конічній поверхнях – відповідно зовнішня

чи внутрішня.

Якщо гвинтова лінія виконана по годинниковій стрілці – різьба права,

а навпаки – різьба ліва.

За числом заходів розрізняють різьби однозаходні

або багатозаходні.

За профілем різьби бувають:
трикутні (рис. 13.1, а, коли
- метрична,

Рис.13.1, а.
а коли
- дюймова, рис. 13.1, б),

Рис.13.1, б.
трапецевидні (рис. 13.1, в),

Рис.13.1. в.
упорні (рис. 13.1, г),

Рис.13.1. г.
круглі (рис. 13.1, д),

Рис.13.1. д
прямокутні (рис. 13.1, ж).

Рис.13.1. ж.
За призначенням різьби поділяють на кріпильні

та ходові.

Різьби та їх параметри

Рис.13.1. з.
Основні параметри циліндричної
різьби:
-
зовнішній діаметр;
-
внутрішній діаметр;
-
середній діаметр;
- крок ;
- кут
профіля і
-
кут підйому гвинтової лінії (див. рис. 13.1. з, 13. 5, а).
Класифікація різьбових з’єднань наступна:
- в залежності від характеру навантаження і способу збирання діляться на ненапружені (зібрані без попереднього затягування) і напружені (зібрані з попереднім затягуванням);
- в залежності від призначення розрізняють з’єднання міцні і міцно-щільні;
- в залежності від кількості болтів розрізняють з’єднання з одиноким болтом і групові. У групових з’єднаннях можливий рівномірний і нерівномірний розподіл навантаження.
2. Стандартні кріпильні деталі, їх матеріали. Способи стопоріння нарізних з’єднань.
До деталей різьбових з’єднань відносять болти (гвинти з гайками) (рис. 13. 2, а),

гвинти (рис. 13. 2, б)

і шпильки (рис. 13. 2, в).

Деталі різьбових з’єднань

Рис.13.2.
Хоч різьба володіє самогальмівними якостями, які запобігають самовідгвинчуванню різьбових деталей, для підвищення надійності з’єднань, використовують різні стопорні пристрої. В окремих випадках під гайку або головку гвинта ставлять плоску шайбу, щоб зменшити пошкодження поверхні деталі.
Геометричні форми та розміри гвинтів, гайок, шпильок і стопорних пристроїв дуже різноманітні і достатньо описані у відповідних довідниках і стандартах.
Для виготовлення
різьбових деталей використовують вуглецеві сталі звичайної якості, якісні та
леговані конструкційні сталі. Механічні властивості сталевих кріпильних
деталей нормуються за ГОСТ 1759.4-87, згідно з яким болти, гвинти і шпильки
поділяють на 12 класів міцності, а гайки –
на 7 класів. Клас міцності болтів, гвинтів і
шпильок позначається двома цифрами, розділеними крапкою. Перше число, помножене
на 100, визначає мінімальне значення границі міцності матеріалу
, а друге число, поділене на 10 і
помножене на
, дає
границю текучості матеріалу
.
Клас міцності гайок позначається одним числом. Якщо це число помножити на 100,
то будемо мати напруження
,
від навантаження випробувань. Детальні відомості про умовні позначення
різьбових деталей наведені в ГОСТ 1759.0-87.
Розподіл навантаження на витках різьби.
Теоретичне розв’язання задачі про розподіл навантаження на витках різьби було зроблене Жуковським М.Є. Експериментальні дослідження підтвердили цю теорію. Розподіл сил між витками різьби за рішенням М.Є. Жуковського для гайки з десятьма витками показано на рис. 13. 3.
Графік розподілу навантаження на витках різьби

Рис.13.3.
Із графіка видно, що найбільш навантажений перший виток сприймає біля 0,34 загальної сили F на болт, а десятий виток – менше 0,01 загальної сили F на болт. Причиною нерівномірного розподілу навантаження на витках різьби є те, що стержень болта розтягується - крок збільшується, а гайка стискається – крок зменшується. Така нерівномірність розподілу навантаження витків приводить до зменшення витривалості різьбових деталей. Ця теорія обґрунтовує і обмеження висоти гайки.
Технологічні і конструктивні заходи з підвищення витривалості гвинтів.
Рівномірність розподілу сили на витках різьби можна поліпшити використанням спеціальних гайок. На рис. 13. 4, б, в, г, д, е і є показані спеціальні гайки для роботи в умовах динамічного навантаження, розроблені на рівні винаходів. Вони складаються із різьбового корпуса і втулки, з’єднаних пресовою посадкою. У порівнянні з стандартною гайкою (рис. 15. 4, а), ці гайки, за дослідними даними, можуть підвищити витривалість різьбових з’єднань на 20...30 %.
Конструкції спеціальних гайок

Рис.13.4.
3. Найпростіші випадки розрахунку на міцність.

Момент тертя в різьбі та опорній поверхні гайки.
При
загвинчуванні гайки для затягування різьбового з’єднання виникає момент сил тертя
, який складається з моментів сил тертя у різьбі
та на
торці гайки ![]()
.
(13.1)
При
розгляді визначення моменту сил тертя у різьбі
зручно
різьбу розгорнути за середнім діаметром
в
нахилену площину, а гайку замінити повзуном (рис. 13.5, а). Тоді колова
сила тертя для прямокутного профілю
а
для трикутного -
де
- приведений
коефіцієнт тертя. Момент сил тертя у різьбі буде
,
(13.2)
де
- осьова сила гвинта від
затягування різьбового з’єднання;
-
кут підйому гвинтової лінії (див. розд. 13.1);
- приведений кут тертя -
.
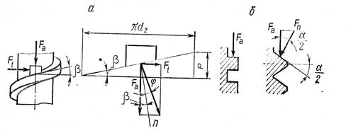
Схема взаємодії сил між гвинтом і гайкою

Рис.13.5.
Опорна торцева площина
гайки має форму кільця, обмеженого діаметрами
і
(див. рис. 13. 6). Із теорії
механізмів і машин відомо, що
,
(13.3)
де
- середній тиск на опорній
поверхні гайки.
Остаточно
маємо
.
(13.4)
Для технічних
розрахунків можна користуватись формулою, якщо вважати, що рівнодійна сил тертя
прикладена на середньому радіусі
,
де
,
тоді
.
(13.5)
До визначення моменту сил тертя на торці гайки

Рис.13.6.
Величину моменту
беруть за основу при створенні
звичайних і спеціальних ключів, що використовуються для затяжки різьбових
з’єднань.
Розрахунки одиноких і групових з’єднань на міцність
Розрахунок ненапруженого різьбового з’єднання.
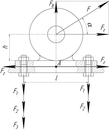
До ненапружених різьбових з’єднань відносяться такі, у яких до прикладання зовнішніх навантажень не виникають напруження – вони попередньо незатягнуті. Прикладом такого з’єднання може бути кріплення крюка на поперечині (рис. 13. 7).
При навантаженні крюка
силою
в стержні,
де виконана різьба, діє сила
,
яка викликає деформація розтягу. Небезпечним перерізом буде переріз на
різьбовій ділянці, площа якого
.
Відповідно умова міцності для перевірочного розрахунку стержня різьби на розтяг
(13.6)
Схема ненапруженого різьбового з’єднання

Рис.13.7.
При проектному розрахунку, із записаної умови міцності, визначають потрібний внутрішній діаметр різьби
.
(13.7)
Отримане значення
округляють до стандартного і
вибирають всі розміри різьби.
Допустиме напруження
,
(13.8)
де
- коефіцієнт запасу міцності болта.
Розрахунок напруженого різьбового з’єднання.
До напружених різьбових
з’єднань відносяться такі, у яких до прикладання зовнішніх навантажень
виникають напруження – вони попередньо затягнуті. Розглянемо на прикладі
різьбового з’єднання (рис. 13.8) навантаженого поперечно-зсувною силою
, коли болт чорновий, поставлений в
отворі з зазором. Умова відсутності зсуву деталей з’єднання має вигляд
, де
- коефіцієнт тертя ковзання в стику
деталей. До роботи таке з’єднання необхідно попередньо затягнути. При затяжці
стержень болта розтягується осьовою силою
і
одночасно скручується моментом сил тертя в різьбі
. Для такого випадку міцність болта
оцінюється за еквівалентним напруженням
,
(13.9)
де
-
напруження розтягу;
-
напруження кручення.
Небезпечним перерізом для болта є переріз з
найменшим діаметром
на
різьбовій ділянці.
Напруження
розтягу
,
(13.10)
а напруження кручення
.
(13.11)
Схема напруженого різьбового з’єднання

Рис.13.8.
Після підстановки
і
в умову міцності дістанемо
,
(13.12)
де
- коефіцієнт, що враховує
скручування болта при затяжці
.
(13.13)
Для стандартних
різьб
;
- осьова сила затяжки.
При проектному розрахунку, із умови міцності, визначають потрібний внутрішній діаметр різьби
.
(13.14)
Отримане значення
округляють до стандартного і
вибирають всі розміри різьби.
Розрахунок різьбового з’єднання чистовим болтом.
Розглянемо на прикладі різьбового
з’єднання (рис. 13. 9) навантаженого поперечно силою
, коли болт чистовий, поставлений в
отворі без зазору, а затяжка болта не обов’язкова.
Схема різьбового з’єднання чистовим болтом

Рис.13.9.
Болт у цьому різьбовому з’єднанні розраховують за умовами міцності на зріз і зминання:
;
,
(13.15)
де
- менша із двох товщин
або
.
Потрібний діаметр стержня болта може бути визначений із цих умов міцності на зріз і зминання:
;
.
(13.16)
Приймаємо
більше або рівне більшому,
округляючи до стандартного ряду Ra 5.
Діаметр різьби
приймаємо
меншим близьким до
.
Допустимі напруження на зріз
,
а напруження зминання
.
Розрахунок клемового різьбового з’єднання.
Клемові
різьбові з’єднання (рис. 13. 10) застосовують для кріплення на валах різних
важелів. Момент сили
в
такому з’єднанні передається за рахунок моменту сил тертя
. Це напружене різьбове з’єднання, у
якому до прикладання зовнішнього навантаження необхідно виконати попередню
затяжку. Розрахунок такого з’єднання виконується, як вказано у розділі
13.6.2.
Схема клемового різьбового з’єднання

![]()
Рис.13.10.
Осьова сила затяжки
болта
визначається
за виразом
.
(13.17)
Розрахунок різьбового з’єднання з ексцентричним навантаженням.
Такі різьбові з’єднання утворюються, як правило, болтами з ексцентричними головками. Але ексцентричне навантаження діє на болт з симетричною головкою (рис. 13. 11), якщо опорні поверхні під гайкою або головкою його мають перекіс.
Схема різьбового з’єднання з ексцентричним навантаженням

Рис.13.11.
У цьому випадку у болті виникають деформації розтягу, кручення і згину. Враховуючи попередні викладки (розд. 13. 2) можна записати, що
.
(13.18)
При перевірочному розрахунку
.
(13.19)
При проектному розрахунку
.
(13.20)
Розрахунок групового різьбового з’єднання з рівномірним
розподілом навантаження
Групові різьбові
з’єднання з рівномірним розподілом навантаження можуть бути без попередньої і з
попередньою затяжкою болтів. Для одного болта зовнішня осьова сила
, де
- кількість болтів у з’єднанні. Для
з’єднання навантаженого осьовою силою
без
попередньої затяжки болтів, потрібний діаметр визначають за формулою
.
(13.21)
Прикладом групового
різьбового з’єднання з попередньою затяжкою болтів є кріплення кришок ємностей, що знаходяться під тиском рідини або газу (рис.
13. 12). Результуюча сила
тиску
рідини або газу на кришку є зовнішньою осьовою силою, яка рівномірно
розподіляється на болти. Для одного болта зовнішня осьова сила
.
(13.22)
Потрібну силу
попередньої затяжки кожного болта вибирають за умови щільності з’єднання
, де
- коефіцієнт затяжки болтів, який
залежить від умови щільності і матеріалу прокладок.
Розрахункову силу болта з’єднання визначають за формулою
,
(13.23)
де
- коефіцієнт зовнішнього
навантаження, що залежить від жорсткостей болта і
деталей з’єднання.
Потрібний внутрішній діаметр різьби за умови міцності на розтяг визначається
.
(13.24)
Згідно із значенням
вибирають стандартні розміри
різьби болта.
Схема групового різьбового з’єднання з рівномірним
розподілом навантаження

Рис.13.12.
Розрахунок групового різьбового з’єднання з нерівномірним
розподілом навантаження
Групові різьбові з’єднання з нерівномірним розподілом навантаження можуть бути такими, що сили діють в площині стику або мати довільне навантаження.
На рис. 13.13 показано групове різьбове з’єднання з довільним навантаженням.
У такому з’єднанні всі зовнішні сили потрібно звести до центра ваги стику
деталей (точка
). У результаті будемо мати
навантаження з’єднання осьовими силами та силами, що лежать у площині стику
деталей.
Розглянемо
варіант групового різьбового з’єднання опори, наприклад, підшипника з основою,
навантаженого силою
під кутом
.
Силу
розкладемо
на дві взаємоперпендикулярні складові:
і
. Дію цих складових сил замінимо
дією таких же сил, але прикладених у центрі
стику. Тоді маємо, що сила
діє по осі болтів – відриває опору,
сила
діє у стику
– зсуває опору і момент пари сил
-
перекидає опору.
Визначимо сили
,
і
, що сприймаються одним болтом
з’єднання (у даному з’єднанні 2 болти) у такому вигляді: від дії сили
:
; від дії сили
:
; від дії моменту пари сил
:
.
Схема групового різьбового з’єднання з нерівномірним
розподілом навантаження

Рис.13.13.
Найбільш навантажений
болт у з’єднанні є той, що розміщений ліворуч від центра ваги стику. Тому сила
найбільш навантаженого болта з’єднання
.
Сила
є
розрахунковою силою для групового різьбового з’єднання з нерівномірним
розподілом навантаження.

Запитання для самоконтролю:
1. Які з’єднання називаються нарізними ?
2. Які різьби називають правими, а які лівими ?
3. Які бувають різьби в залежності від профілю ?
4. На які види поділяються різьби за призначенням ?
5. Назвіть основні параметри циліндричної різьби.
6. Наведіть класифікацію різьбових з’єднань.
7. Що відносять до деталей різьбових з’єднань ?
8. Які заходи використовують для підвищення витривалості гвинтів ?
9. З яких моментів складається момент сил тертя ?
10. Що називається приведеним кутом тертя ?
11. Як виконується розрахунок ненапруженого різьбового з’єднання ?
12. За якою умовою виконують розрахунок напруженого різьбового з’єднання ?
13. В чому є суть розрахунку різьбового з’єднання чистовим болтом?
14. Як визначається осьова сила затяжки болта для клемового з’єднання ?
15. Як розраховують різьбове з’єднання з ексцентричним навантаженням ?
16. Як виконується розрахунок групового різьбового з’єднання з рівномірним розподілом навантаження ?