Тема 3.11: Муфти.
План
1. Призначення та класифікація муфт. Застосування муфт.
2. Конструкції муфт. Короткі відомості про вибір і розрахунок муфт.

1. Призначення та класифікація муфт. Застосування муфт.
Муфтами в деталях машин називають вироби, що з’єднують вали і передають крутний момент. Застосування муфт пов’язане з тим, що багато машин, у тому числі і їх приводи, компонують із окремих складальних одиниць, що мають вихідні та вхідні вали. Крім з’єднання валів і передачі крутних моментів муфти можуть виконувати і інші функції, такі як компенсування похибок взаємного розміщення валів (див. рис. 11.1), зменшення динамічних навантажень, з’єднання і роз’єднання валів без зупинки двигуна, автоматично керувати роботою машини, запобігати поломку деталей машин від перевантажень.
Схеми похибок взаємного розміщення валів

Рис. 11.1
За функціями, які можуть виконувати муфти, їх можна поділити на п’ять класів: глухі, компенсуючі або рухомі, зчіпні, автоматичні або самокеровані та запобіжні. Існують і інші класифікації муфт.
2. Конструкція муфт. Короткі відомості про вибір і розрахунок муфт.
У
машинах і їх приводах використовують муфти багато різноманітних конструкцій.
Найбільш широко використовують стандартизовані
муфти. Стандартні муфти не розраховують, а вибирають за діаметром
з’єднуваних валів і
розрахунковим крутним моментом
.
,
(11.1)
де
-
номінальний крутний момент на валах;
-
коефіцієнт, що враховує короткочасні перевантаження або режим роботи
муфти. У залежності від режимів роботи машин
і вибирається із
довідкової літератури. Далі наведені конструкції муфт із різних класів і їх
перевірочні розрахунки.
Глухі муфти – призначені для жорсткого з’єднання валів і передачі крутного моменту. Інших функцій вони не виконують. Такі муфти бувають втулкові (рис. 11.2), фланцеві (рис. 11,3) і клемові (рис. 11.4).
Втулкова муфта – суцільна втулка, яка насаджується на кінці валів, які підлягають з’єднанню. З’єднання суцільної втулки з валами здійснюється за допомогою штифтів (рис. 11.2, а), або шпонок (рис. 11.2, б), або шліців.

Схема втулкової муфти

Рис. 11.2
Втулкові
муфти застосовують для діаметрів валів
.
Матеріал втулок – сталь 40, 45, а при великих розмірах – чавун СЧ 18, СЧ
20. Штифти виготовляють із сталей 45, 50. Міцність муфти оцінюється міцністю
самої втулки і міцністю з’єднання її з валами.
Перевірочний розрахунок втулки виконують за умовою міцності на кручення:
.
(11.2)
Перевірочний розрахунок штифтів виконують за умовою міцності на зріз:
.
(11.3)
Тут
розрахункові розміри відповідають позначенням на рис. 11.2, а. Допустимі
напруження при розрахунках беруть
,
а
. Перевірочні розрахунки
шпонкового або шліцевого з’єднання виконані у темі
14.
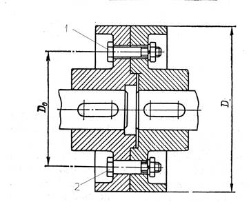
Фланцева муфта (рис. 11.3) складається з двох півмуфт, виконаних у вигляді фланців, які насаджені на кінці валів і з’єднані між собою болтами: із зазором (чорновими) – рис. 11.3, варіант 1; без зазору (чистовими) – рис. 11.3, варіант 2.

Схема фланцевої муфти

Рис. 11.3
У
варіанті 1 момент
передається
за рахунок моменту сил тертя, що виникає у площині стику півмуфт
від затяжки болтів, а в варіанті 2 – безпосередньо болтами, які знаходяться під
дією деформацій зрізу і зминання.
Фланцеві
муфти стандартизовані (ГОСТ 20761-80) для валів
. Півмуфти
виготовляють із сталі 35, сталевого литва 35Л або з чавунного
литва. Болти, що ставляться з зазором виготовляються із сталі Ст. 3, а болти,
що ставляться без зазору – зі сталей 40, 45.
Роботоздатність фланцевої муфти оцінюється міцністю болтового з’єднання фланців. Перевірочні розрахунки таких болтових з’єднань показані у темі 13.
Клемова муфта (рис. 11.4) складається з
двох півмуфт 1 і 2 з клемами, розділених по площині,
яка проходить через поздовжні осі валів і з’єднані між собою болтами 3. У малих
муфтах момент
передається
за рахунок моменту сил тертя, що виникає у площині стику півмуфт
з валом від затяжки болтів. У великих муфтах для надійності роботи додатково
ставлять призматичну шпонку.

Схема клемової муфти

Рис. 11.4.
Роботоздатність клемової муфти оцінюється міцністю клемового болтового з’єднання. Перевірочні розрахунки таких болтових з’єднань розглянуті у темі 13.
Компенсувальні (рухомі) муфти можна розділити на два підкласи – жорсткі і пружні. Жорсткі компенсувальні муфти, крім з’єднання валів і передачі моментів, можуть компенсувати похибки взаємного розміщення валів (див. рис. 11.1). Для прикладу, тут розглянуті кулачково-дискова (рис. 11.5) і зубчаста (рис. 11.6) муфти. Пружні компенсувальні муфти, крім з’єднання валів і передачі моментів, можуть компенсувати похибки взаємного розміщення валів (див. рис. 11.1) та зменшувати динамічні навантаження. Для прикладу, тут розглянуті пружна втулково-пальцева (рис. 11.7) і пружна з металевою змієподібною пружиною (рис. 11.8) муфти.
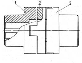
Кулачково-дискова муфта (рис. 11.5) складається з
двох півмуфт 1 і 3, що взаємодіють між собою через
проміжний диск 2. На внутрішніх торцях півмуфт 1 і 3
виконані діаметрально розміщені пази, а проміжний диск 2 на обох торцях має
взаємно перпендикулярні виступи - кулачки. Ці кулачки на проміжному диску 2
входять у пази півмуфт 1 і 3. Кулачково-дискова
муфта забезпечує компенсацію похибок
,
і
. Кулачково-дискові
муфти стандартизовані (ГОСТ 20720-81) для валів
.
Неспівосність валів приводить до ковзання проміжного диску відносно півмуфт і спрацювання кулачків. Інтенсивність спрацювання зростає зі збільшенням неспіввісності та кутової швидкості валів. Деталі кулачково-дискових муфт виготовляють із сталей Ст. 5 або 45Л. Для важко навантажених муфт застосовують леговані сталі 15Х, 20Х із цементацією робочих поверхонь.

Схема кулачково-дискової муфти

Рис. 11.5.
Роботоздатність кулачково-дискової
муфти визначається стійкістю робочих поверхонь кулачків і пазів півмуфт проти спрацювання. Є два підходи оцінки
зносостійкості: коли забезпечується мащення поверхонь – обмежують питомий тиск
; коли не забезпечується мащення
поверхонь – обмежують напруження зминання при передаванні муфтою моменту
.
;
,
(11.4)
де
- зовнішній діаметр муфти;
- діаметр вала;
- висота кулачка. Допустимий
тиск і допустимі напруження зминання приймають в залежності від матеріалу,
термообробки і умов роботи муфт
,
а
.
Зубчаста муфта (рис. 11.6) складається з півмуфт 1 і 2, що мають зовнішні зубчасті вінці, і
роз’ємної обойми 3 з двома внутрішніми зубчастими вінцями. Дві половини обойми
3 з’єднуються між собою за допомогою чистових болтів. Зуби півмуфт
1 і 2 та обойми 3 мають евольвентний профіль.
Зубчаста муфта забезпечує компенсацію похибок
,
і
, бо її зубчасте зачеплення
виготовляють із гарантованим боковим зазором і з можливістю вільного осьового
зміщення сполучених зубів, а самі зуби мають бочкоподібну форму з сферичною
зовнішньою поверхнею. Зубчасті муфти стандартизовані (ГОСТ 5006-83) для валів
.

Деталі
зубчастих муфт виготовляють із вуглецевих сталей марок 45, 50 або 40Х. Для
підвищення зносостійкості зубів їх термообробляють до
твердості
. Тихохідні муфти
можна виготовляти з твердістю зубів
.
Компенсація неспівосності валів супроводжується неперервним ковзанням у контакті зубів і відповідним їх зносом. Для зменшення зносу зубів в обойму муфти заливають рідке мастило високої в’язкості.
Схема зубчастої муфти

Рис. 13.6.
Роботоздатність зубчастої муфти оцінюється стійкістю робочих поверхонь зубів проти прискореного спрацювання і визначається за умовою питомого тиску
,
(11.5)
де
- ширина
зубчастого вінця;
- модуль
зубів;
- число зубів;
- допустимий питомий тиск.
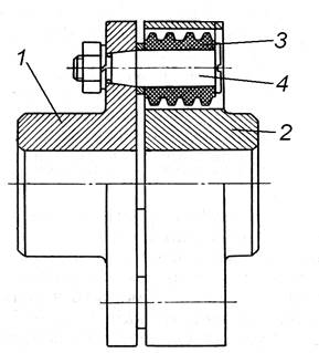
Пружна втулково-пальцева муфта
(рис. 11.7) складається з двох півмуфт 1 і 2, гумових
втулок 3 і пальців 4. На пальцях 4 розміщені гумові втулки 3. Пальці 4 нерухомо
закріплені у півмуфті 1, а гумові втулки 3
взаємодіють з півмуфтою 2. Пружність муфти
забезпечується деформацією гумових втулок 3 при передаванні моменту
. Пружна втулково-пальцева
муфта забезпечує компенсацію похибок
,
і
. Пружні втулково-пальцеві
муфти стандартизовані (ГОСТ 21424 - 75) для валів
.

Півмуфти виготовляють із чавуну СЧ 20, сталі 30 або 35Л. Матеріал пальців – сталь 45, а втулок - гума з границею міцності при розтягу не менш ніж 8 МПа.
Роботоздатність пружних втулково-пальцевих муфт оцінюється міцністю на згин пальців та на зминання гумових втулок.
Схема пружної втулково-пальцевої муфти

Рис.11. 7.
Умова міцності на згин пальців
.
(13.6)
Умова міцності на зминання втулок
.
(13.7)
Тут,
у цих формулах:
- діаметр кола розміщення пальців;
- число пальців;
- діаметр пальця;
- довжина пальця;
- довжина втулки. Допустимі
напруження на згин пальців
,
а допустимі напруження на зминання втулок
.
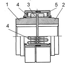
Муфта з змієподібною пружиною (рис. 11.8)
складається з двох півмуфт 1 і 2, з зубами 3
спеціального профілю, між якими розміщена змієподібна пружина 4. Кожух 5
утримує пружину в робочому положенні, захищає муфту від пилу і служить ємкістю
для мастила. Пружність муфти забезпечується деформацією змієподібної пружини 4
при передаванні моменту
.
Муфта з змієподібною пружиною забезпечує компенсацію похибок
,
і
.

Роботоздатність муфт з змієподібною пружиною оцінюється міцністю пружини і вібростійкістю. Викладка розрахунків таких муфт громіздка і тому тут не приведена. З нею можна ознайомитися у підручниках з деталей машин.
Схема муфти з змієподібною пружиною

Рис. 11.8.
Зчіпні муфти належать до тих, за допомогою яких з’єднують і роз’єднують вали під час зупинки і роботи привода. Ці муфти поділяють на кулачкові та фрикційні.
Кулачкова муфта (рис. 11. 9) у найпростішому вигляді складається із двох півмуфт 1 і 2, на торцях яких розміщені кулачки. Півмуфта 1 закріпляється на валу нерухомо, а півмуфта 2, що знаходиться на другому валу, може переміщатися уздовж нього. Рухому півмуфту 2 переміщають за допомогою спеціального пристрою – механізму керування муфтою. Із введенням у зачеплення кулачків двох півмуфт момент передається від одного вала до другого. Кулачкова муфта вимагає достатньо високої точності центрування валів тому, що перекоси різко зменшують надійність її роботи.

Вмикання кулачкових муфт під час обертання валів супроводжуються ударами. Такі муфти не рекомендують використовувати для вмикання приводів під навантаженням.
Конструктивно кулачкові муфти відрізняються формою кулачків
– прямокутні або трапецієвидні. У муфтах з трапецієвидним профілем кулачків
виникають осьові сили. Тому кут
трапецієвидного
профілю вибирається у межах
.
Півмуфти кулачкових муфт виготовляють із сталей, що
підлягають цементації, 15, 20, 15Х, 20Х, а при великих розмірах - із
сталей 45, 40Х, 40ХН. Твердість кулачків має бути
.
Схема кулачкової муфти

Рис. 11.9.
Роботоздатність кулачкових муфт оцінюється міцністю робочої поверхні кулачків, яка залежить від напружень зминання. При рівномірному розподілі навантаження між усіма кулачками
.
(11.8)
Тут
розрахункові розміри відповідають позначенням на рис. 14.9, а
- число кулачків. Допустиме
напруження зминання
рекомендують
брати: вмикання при зупиненому приводі
;
вмикання муфти під час обертання валів
.
Фрикційні муфти передають момент за рахунок тертя на робочих поверхнях їхніх деталей. Під час вмикання фрикційних муфт момент зростає поступово – пропорційно збільшенню сили притискання поверхонь тертя.
Фрикційні муфти за формою поверхонь тертя бувають таких видів: дискові (рис. 11. 10), конусні (рис. 11. 11), барабанного типу (циліндричні) (рис. 11. 12).
Дискові фрикційні муфти бувають із однією парою поверхонь тертя (рис. 11. 10, а)

і з багатьма парами поверхонь тертя (рис. 11. 10, б).

У першому випадку муфта складається з двох півмуфт 1 і 2, притиснутих одна до другої своїми торцевими площинами. Керування муфтою здійснюється за рахунок осьового зміщення на валу півмуфти 2 спеціальним механізмом. У другому випадку муфта складається з двох півмуфт 1 і 2, групи дисків – зовнішніх 3 і внутрішніх 4, натискного диска 5, який переміщається в осьовому напрямку. Зовнішні диски 3 з’єднані за допомогою шліців з півмуфтою 1, а внутрішні диски 4 з’єднані за допомогою шліців з півмуфтою 2. Вмикання та вимикання муфти здійснюється натискним диском за допомогою механізму керування.
Потрібна сила притискання дисків
,
(11.9)
де
- коефіцієнт
тертя ковзання на торцевих поверхнях дисків;
- число пар поверхонь тертя.
Схеми фрикційних дискових муфт

Рис. 11.10
В якості матеріалів дисків застосовують загартовані сталі, чавуни, обкладки із азбесту або спеченого матеріалу.
Основним критерієм роботоздатності таких муфт є зносостійкість поверхонь тертя, яка оцінюється питомим тиском
.
(11.10)
Допустимий
тиск для дисків
і
залежить від пари матеріалів поверхонь тертя дисків.
Конусна фрикційна муфта (рис. 11.11) має дві півмуфти 1 і 2, які стикуються між собою на конічних поверхнях.

Вмикання і вимикання муфти здійснюється осьовим переміщенням на валу півмуфти 2. Потрібна сила притискання півмуфт 1 і 2
.
(11.11)
Схема конусної фрикційної муфти

Рис. 11.11.
В якості матеріалів пів муфт застосовують сталі, чавуни, обкладки із азбесту або спеченого матеріалу.
Основним критерієм роботоздатності таких муфт є зносостійкість поверхонь тертя, яка оцінюється питомим тиском
.
(11.12)
Про допустимий питомий тиск, який залежить від пари матеріалів поверхонь тертя сказано вище.
Фрикційна муфта барабанного типу (циліндрична) (рис. 11.12) розглянута на прикладі на шинопневматичної муфти. Між півмуфтами 1 і 2 розміщена гумова шина 4 і прикріплена до півмуфти 1. Гумова шина 4, на внутрішній поверхні, покрита набором колодок 3 з антифрикційного матеріалу. За допомогою штуцера 5 внутрішня камера шини сполучена з повітряною магістраллю керування. При подачі повітря у камеру шини 4 колодки 3 притискаються до півмуфти 2 з силою необхідною для передачі крутного моменту.
Основним критерієм роботоздатності таких муфт є зносостійкість циліндричних поверхонь тертя, яка оцінюється питомим тиском
.
(11.13)
Про допустимий питомий тиск, який залежить від пари матеріалів поверхонь тертя сказано вище.
Схема фрикційної муфти барабанного типу

Рис. 11.12.
Автоматичні муфти автоматично з’єднують або роз’єднують вали, якщо параметри роботи машини недопустимі за тими чи іншими показниками. До них відносяться відцентрові та обгінні муфти.
Відцентрові муфти за конструкцією дуже різноманітні. Вони керуються відцентровою силою.

На рис. 11.13 зображена принципова схема відцентрової муфти, яка складається з півмуфти 1, у пазах якої розміщені колодки 2, що утримуються пружинами 3, і півмуфти 4 у вигляді барабана.
Під
час обертання півмуфти 1 колодки 2 знаходяться під
дією відцентрової сили
та
сили пружини
. Якщо
швидкість вала мала, то
- муфта не передає крутного
моменту, тому що колодки 2 не притискаються до півмуфти
4. Із збільшенням кутової швидкості
зростає
відцентрова сила
,
а при
колодки
2 притискаються до барабана 4 і за рахунок сил тертя передається крутний
момент. Зі зменшенням кутової швидкості
муфта розмикається.
Для
передавання муфтою розрахункового крутного моменту
має виконуватись рівність
,
(11.14)
де
- коефіцієнт
тертя між колодками і барабаном;
-
число колодок у муфті.
Відцентрова сила, що діє на колодку під час роботи муфти у розрахунковому режимі
,
(11.15)
де
- маса
колодки.
Схема відцентрової муфти

Рис. 11. 13.
Сила
пружини, що утримує колодку, дорівнює відцентровій силі у момент вмикання
муфти, тобто коли кутова швидкість півмуфти 1 має
значення
.
Тоді
,
(11.16)
.
(11 .17)
Основним критерієм роботоздатності таких муфт є зносостійкість колодок і барабана, яка оцінюється питомим тиском
,
(11.18)
де
- площа
контакту колодки з барабаном.
Про
допустимий питомий тиск
,
який залежить від пари матеріалів поверхонь тертя сказано вище.
Обгінні муфти (рис. 11.14) передають крутний момент в одному напрямі.

Вони складаються із півмуфти 1, у вигляді зірочки, півмуфти 2, у вигляді обойми, кульок або роликів 3 і притискних пристроїв 4. Під час роботи муфти кульки або ролики 3 силами тертя затягуються в бік звуження зазору між обоймою 2 та зірочкою 1 і заклинюються. Притискні пристрої 4 у муфті утримують ролики 3 у постійному контакті з обоймою 2 і зірочкою 1.
В обгінних муфтах використовують стандартні ролики із ролико-підшипників, а обойму і зірочку виготовляють із сталей ШХ 15, 20Х.
Схема обгінної муфти

Рис. 11. 14
Основним критерієм роботоздатності таких муфт є міцність ролика і робочих поверхонь зірочки і обойми, яка оцінюється поверхневими контактними напруженнями
,
(11.19)
де
-
коефіцієнт, що враховує механічні властивості матеріалів спряжених деталей;
- число роликів;
- діаметр ролика;
- довжина ролика;
- кут заклинювання ролика;
- допустимі контактні
напруження.
Запобіжні муфти використовують для захисту окремих деталей машин від перевантажень. Вони бувають із неруйнованими та з руйнованими елементами. До муфт із неруйнованими елементами можна віднести описані раніше кулачкові та фрикційні муфти.
Запобіжні кулачкові муфти подібні до зчіпних
муфт, але вони не мають механізму примусового керування. Тут півмуфти замикаються силою стиснутих пружин. Для осьового
зміщення рухомої півмуфти кут профілю кулачків
. При перевантаженнях муфта
спрацьовує – кулачки виходять із зачеплення, що супроводжується тріском, двигун
зупиняється. Запобіжні кулачкові муфти стандартизовані (ГОСТ 15620-77).

Подібні до запобіжних кулачкових муфт є запобіжні кулькові муфти. Вони стандартизовані за ГОСТ 15621-77.

Запобіжні фрикційні муфти відрізняються від зчіпних фрикційних муфт відсутністю механізму керування. Ці муфти замикаються силою стиснутих пружин. Запобіжні фрикційні муфти стандартизовані (ГОСТ 15622-77).
У режимі запобіжних муфт із неруйнівним елементом із обмеженням робочого навантаження можуть працювати і автоматичні муфти – відцентрова та обгінна.
До муфт з руйнованими елементами відноситься муфти із зрізним штифтом.
Муфта
із зрізним штифтом (рис. 11.15) складається з двох півмуфт
1 і 2, сполучених між собою штифтами 3. Число штифтів у муфті
, рідше
. Матеріал штифтів – середньовуглецева сталь.
Схема муфти із зрізним штифтом

Рис. 11.15.
Максимальний крутний момент, при якому відбувається зріз штифтів
.
(11.20)
Якщо
для муфти відомий максимальний крутний момент
, тоді потрібний діаметр штифта
можна визначити за формулою
.
(11.21)
Границю міцності на
зріз
можна
наближено визначити залежно від границі міцності на розтяг
матеріалу штифта
.
У приводах машин застосовуються і комбіновані муфти.

Запитання для самоконтролю:
1. Які вироби називають муфтами ?
3. На які класи діляться муфти за їх функціями ?
4. Для чого призначені глухі муфти і які вони бувають ?
5. Яке призначення компенсувальних муфт, які вони бувають ?
6. Для чого призначені зчіпні муфти і які вони бувають?
7. Яке призначення автоматичних, самокерованих муфт ?
8. Які функції виконують запобіжні муфти ?